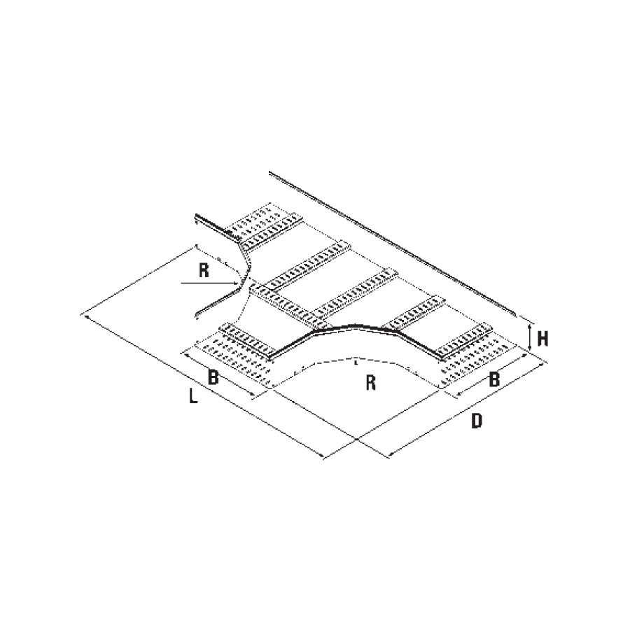
Horizontal “T” junction
Dimension brush Thickness Weight Technical Info Code
H W (B) [mm] [Kg] L R d
150 300 2,00 14,25 1200 300 750 U3 105 1530
150 400 2,00 17,28 1300 300 850 U3 105 1540
150 500 2,00 19,96 1400 300 950 U3 105 1550
List of Coatings
brush
01 Galvanization (Sendzimir method) - UNI EN 10346
Horizontal “T” junction
To access the download, you must log in or sign up


×